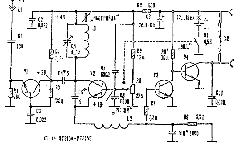
Схема УКВ приемника
Высокое качество радиопередач обеспечивает лишь УКВ ЧМ вещание, работающее на ультракоротких волнах. Чтобы принимать такие передачи, нужен супергетеродинный радиоприемник с УКВ диапазоном или тьюнер. Самостоятельно изготовлять такую аппаратуру нецелесообразно — слишком велики затраты средств и труда, да и наладить ее без специальных измерительных приборов трудно.
А вот упрощенный УКВ радиоприемник наверняка смогут построить многие радиолюбители. Удовлетворительный прием близко расположенных радиостанций обеспечит доступный для повторения сверхрегенератор, выполненный на транзисторах (рис. 1) или на интегральной микросхеме (рис. 2).
Сигнал с антенны W1 через конденсатор С1 поступает на эмиттер транзистора VI, включенного по схеме с общей (для высокочастотных токов) базой. Каскад УВЧ повышает чувствительность приемника, а главное — устраняет проникновение в антенну колебаний сверхрегеиеративиого детектора, предотвращая тем самым возникновение помех.
Для преобразования ЧМ сигнала в AM приемник настраивают путем перемещения диамагнитного сердечника катушки L1 так, чтобы несущая частота принимаемой радиостанции располагалась на склоне резонансной кривой колебательного контура L1C5 в цепи коллектора транзистора V2. Этот полупроводниковый триод обеспечивает устойчивую работу устройства на частотах 66—73 МГц, отведенных УКВ вещанию, поэтому он включен по схеме с общей (для переменных токов) базой. Постоянное напряжение на ней регулируют переменным резистором R6, устанавливая таким образом оптимальный режим сверхрегенерации.
Возбуждение высокочастотных автоколебаний в сверхрегенеративном детекторе возникает благодаря положительной обратной связи через конденсатор С6, а их периодическое прерывание (самогашение, дробление) с ультразвуковой частотой происходит вследствие протекания тока эмиттера V2 через цепь R9C10. Иными словами, детектор приемника работает в режиме сверхрегенерации с самогашением, для которого характерно очень большое усиление слабых сигналов — в сотни тысяч раз.
Высокочастотная составляющая выходного напряжения детектора отфильтровывается дросселем L2, а низкочастотная через резистор R7 подается на вход УНЧ, собранного на транзисторах V3, V4 с непосредственной связью между каскадами. Через гнезда Х2 в цепь коллектора V4 подключают абонентский громкоговоритель или динамическую головку с согласующим трансформатором. Конденсатор СИ «срезает» высшие звуковые частоты, ослабляя тем самым свойственные сверхрегенеративнаму приемнику шумы, когда он не настроен на радиостанцию и усиление максимально.
Рис. 1. Принципиальная схена УКВ радиоприемника на транзисторах.

Для устойчивой работы приемника батарея G1 заблокирована конденсатором С9 большой емкости, а питание высокочастотных каскадов осуществляется через фильтр R4C2.
Катушка переменной индуктивности L1 — шесть витков провода ПЭВ или ПЭЛ 0,51 — намотана на каркасе длиной 30 мм с наружным 010 и внутренним 8 мм, в торце которого укреплена гайка с резьбой М4. В ней вращается латунная шпилька длиной50.мм с закрепленным на ее конце латунным (медным или алюминиевым) настроечным сердечником длиной 8 и 0 7 мм. Высокочастотный дроссель L2 содержит 60 витков провода ШВ или ПЭЛ 0,18, намотанного в один слой на корпусе резистора ВС-0,5, с которого наждачной бумагой удалены краска и ий слой.
В приемнике работают транзисторы КТ315А—КТ315Е в любых сочетаниях, без предварительного отбора. В высокочастотных каскадах можно использовать также и полупроводниковые триоды ГТ311Е—ГТ311И.
Статья по этому приёмнику
Ξ Малогабаритный приемник СИ-БИ диапазона
П. Вендеревский
Радиоприемник предназначен для портативных радиостанций Си-Би диапазона с амплитудной модуляцией сиrнала. Ero рабочая частота стабилизирована кварцевым резонатором. Чувствительность приёмника при соотношении сиrнал-шум 16 дБ не хуже 3 мкВ. Входное сопротивление 50 Ом.
Выходная мощность не менее 100 мВт.
Ток, потребляемый приёмником в дежурном режиме при напряжении питания 3,6 В, не более 5 мА.
Приёмник сохраняет работоспособность в интервале питающих напряжений от 2,5 до8 В.
Отличительная особенность этоrо устройства- применение микросхемы ТА2003(CD2003, KA2297, TA8164Р), разработанной для промышленных радиоприёмников АМ (средневолновоrо) и FM диапазонов. Опытным путём было установлено, что собственный rетеродин и смеситель тракта АМ микросхемы ТА2003 устойчиво работают и на частотах Си-Би диапазона 27 мrц. Так как внутренний rетеродин микросхемы не предусматривает использование кварцевоrо peзонатора, в приёмнике применён внешний rетеродин.
Описываемый приёмник очень прост в изrотовлении, в нём использованы широко распространённые детали.

Радиочастотный сиrнал с антенны через разделительный конденсатор С1 поступает на колебательный контур L 1 С2, который осуществляет предварительную селекцию сиrнала.
Чтобы обеспечить входное сопротивление приёмника, близкое к 50 ОМ, конденсатор С 1 подключён к части витков катушки L 1. Через катушку связи L2 ВЧ напряжение с контура поступает на вход усилителя высокой частоты АМ тракта микросхемы DА 1 (вывод 16) и далее на АМ смеситель входящий в состав этой микросхемы. На второй вход смесителя через вывод 12 подаётся сиrнал rетеродина, выполненноrо на транзисторе VТ1. Рабочая частота гeтeродина определена параметрами квapцевоrо резонатора ZQ1. Полученный в смесителе сигнал промежуточной частоты 455 кrц через полосовой фильтр Z1 поступает на вход УПЧ микросхемы DА1 (вывод 7). К выходу детектора АРУ УПЧ (вывод 5 микросхемы) подключён конденсатор С9, на котором выделяется управляющее напряжение, необходимое для реrулировки усиления УПЧ.
Усиленный и прошедший через амплитудный детектор сиrнал промежуточной частоты с вывода 11 микросхемы поступает на ФНЧ, выполненный на элементах R4, С5. С6. Выделенный фильтром сиrнал звуковой частоты через реrулятор rромкости (переменный резистор А5) поступает на усилитель ЗЧ микросхему DА2, которая работает в типовом для неё мостовом включении, а к её выходу подключён rромкоrоворитель ВА1 На транзисторе VТ2 собран
шумоподавитель. Пороr ero срабатывания реrулируют переменным резистором R6 В отсутствие на входе приёмника радиосиrнала напряжение на выходе детектора АРУ минимально и составляет при
мерно 10...80 мВ.

Транзистор VТ2 закрыт напряжением смeщения, определяемым сопротивлением резистора R6. При этом напряжение на выводе 1 микросхемы DА2 (вход "Chip
OisabIe") высокое и она, соответственно, находится в дeжурном режиме. Коrда на входе приёмника появляется ВЧ сиrнал, напряжение АРУ увеличивается, транзистор VТ2 открывается и напряжение на входе "Chip Disable/StandBy" микросхемы DА2(MC34119P, AN7513) уменьшается. Это приводит к переходу микросхемы из режима ожидания в рабочий режим.
Металлический корпус кварцевоrо резонатора необходимо соединить с общим проводом устройства. Для этоrо ero прижимают к печатной плате отрезком луженоrо медноrо провода, который запаивают в отверстия. размещенные около резистора R3 и конденсатора С3. Отверстия в прямоуrольных площадках в левой части платы (по два в каждой) используются для крепления переменных резисторов R5 и R6, которые также pacполаrают с обратной стороны платы.
Вид rотовой конструкции приведён на фотоrрафии.

Катушки L1-L3 - бескаркасные. Их наматывают виток к витку проводом
ПЭВ-2. Катушка L1 содержит 17 витков провода диаметром 0,5 мм. Диаметр намотки 5 мм. Отвод сделан от 5-ro витка, считая от вывода, соединённоrо с общим проводом. Катушка L2 намотaнапроводом диаметром 0,35 мм. Число витков - 6, диаметр намотки 7 мм. Перед установкой на плату катушку L2 надевают поверх катушки L 1 .
Катушку L3 наматывают проводом диаметром 0,5 мм. Число витков 14, диаметр намотки 5 мм. Отвод от cepeдины катушки. При рабочей частоте приёмника 26.545 мrц частота кварцевоrо резонатора ZQ1 должна быть 27 мrц. При настройке приёмника на друrие рабочие частоты частота кварцевоrо резонатора должна превышать рабочую на 455 кrц. Фильтр Z 1 желательно применить типа SFU455C5, но можно и друrой аналоrичный. Все постоянные конденсаторы малоrабаритные керамические, оксидные K50-35 или аналоrичные импортные Переменные резисторы R5, R6 малоrабаритные, любоrо типа с сопротивлением 4,7...22 кОм. rромкоrоворитель ВА 1 -динамическая rоловка мощностью 0.25...0.5 Вт с сопротивлением звуковой катушки не менее 8 Ом. Tpaнзистор VТ1 - КТ315 с любым буквенным индексом, VT2

КП303А или КП303Б. Источником питания радиоприёмника служит NiCd аккумуляторная батарея напряжением 3,6 В и мкостью 600 мА.ч Перед первым включением приёмника следует проверить правильность монтажа. Налаживание приёмника сводится к настройке входноrо контура L1C2 и контура rетеродина L3C4. Это осуществляют, раздвиrая крайние витки катушек. Первым на- страивают контур rетеродина. Показателем ero точной настройки на частоту резонатора служит Maксимальное постоянное напряжение на резисторе R3. Для нaстройки входноro контура на ход приёмника необходимо подать сиrнал от reнepaтopa стaндартных сиrналов частотой 26,545 мrц и нaпряжением около 1 мкВ. Контролировать точную настройку вxoднoro контура можно по мак-симальному нaпряжению АРУ УПЧ на выводе 5 микросхемы DА 1 .
Если нет возможности использовать rcc, подключите к входу приёмника aнтенну и нaстройте контур по сиrналу работающей радиостанции. По окончании настройки следует зафиксировать витки катушек несколькими каплями полистирольноrо клея
Малогабаритный приемник СИ-БИ диапазона